



| 氙燈功率 | 長弧氙燈,6.5KW*1支,與ATLAS、Q-LAB等歐美知名品牌互通互用 | ![]() |
| 氙燈波長 | 250-800nm ,最大限度的再現太陽光的老化機理,可設定將被測樣品連續24小時暴露在相當于夏天正午時光照環境中,與戶外實際環境相比,其平均光照強度更強,日均暴露時間更長,從而可以很快得出測試結果。 | ![]() |
| 輻照強度 | 200-1200W/M2 (at 200-800nm)可調 0.2-0.57 W/M2 (at 340nm)可調 0.4-1.22 W/M2 (at 420nm)可調 | |
| 輻照強度調節 | 微電腦+PID+數字動力電子電源+氙燈無極調節 | |
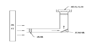
| 輻照強度測量 | 帶太陽眼,自動測控。(S1型高純度石英透光片、鍍金硅耐腐蝕反射鏡、高溫線性感光元器件,確保測量精度且不受高低溫變化所影響。) | ![]() |
| 內慮器 | 高純度硼硅酸鹽及S1型石英,與ATLAS、Q-LAB等歐美知名品牌互通互用 | ![]() |
| 外慮器 | 高純度高硼硅酸鹽及鈉石灰,與ATLAS、Q-LAB等歐美知名品牌互通互用 | ![]() |
| 黑板溫度 | 55℃-110℃可調 | |
| 黑標準溫度 | 55℃-120℃可調 | |
| 濕度解析度 | 0.1%R.H | |
| 濕度范圍 | 光照15%R.H-75%R.H可調、黑暗30%R.H-98R.H可調 | |
| 暗周期、輻射周期 | 0-9999H可調 | |
| 淋雨周期 | 0-9999min可調 | |
| 試品掛板 | 單只70 mm× 145 mm ,與ATLAS、Q-LAB等歐美知名品牌互通互用 | ![]() |
| 鼓型旋轉掛板架 | 1).鼓型旋轉掛板架,充分均勻地暴曬到每個試樣,通過內外過濾模擬不同戶外試驗條件 2).高輻照強度控制:控制光輻照強度可達到2個太陽或更高水平 3).光輻照度可調可控,并且穩定性好 4).黑板溫度、黑標準溫度設置在掛板架上,和試品同步任意旋轉,精準的測量試品表面溫度使之達到設定要求。 5).相對濕度控制可控,能滿足全球、嚴酷的試驗方法 6).空氣溫度(DB)、黑板溫度(BPT)、黑標準溫度(BST)可切換控制 | ![]() |
| 箱體結構 | 測試區、燈管維護區、儀表電控區、機房分區設計,模塊化組合,滿足測試及維護的人性化的操作 | ![]() |
| 箱體材質 | 外膽材料:優質彩鋼板靜電噴涂 內膽材料:優質耐熱耐寒不銹鋼板 | |
| 測試箱門 | 單開鉸門(面對箱體時,左鉸鏈,右把手) 硅橡膠緊迫密封裝置 | |
| 供水系統 | 連接水源后自動補水 | |
| 控制原理 | ![]() | |
| 水路控制 | 1).補給冰箱30L,含高低水位指示,可拆卸清洗 2).高效電磁擠壓水泵,可連續轉5000H 3).PO膜+活性炭供水過濾器,可拆卸清洗 4).高低溫雙水位電子液位開關,可防止誤動作 5).缺水空焚超溫保護+超低水位保護+供水超時,確保設備安全運行 6).回水PP棉過濾,減少設備用水消耗,慮出回水雜質 | ![]() |
| 系統原理 | 一顆壓縮機兼顧試驗箱的溫濕度控制和氙燈冷卻水的制冷,擺脫對冷水機的依賴,為客戶減少前期投入 | ![]() |
| 壓縮機 | 原裝進口法國泰康全封閉式壓縮機 | |
| 蒸發器 | 外翅片內螺紋管式換熱器(兼做除濕器) | |
| 冷凝器 | 外翅片內螺紋管式換熱器 | |
| 微電腦控制器 | 5.7英寸,640×480點陣,TFT彩色LCD顯示器 | ![]() |
| 運行方式 | 支持程序方式、定值方式 | |
| 設定方式 | 中英文菜單(可自由選擇)觸摸屏方式輸入 | |
| 程序容量 | 1.程序:最大120組 2.段數:最大段數14400段 3.循環數:最大可無限循環 | |
| 曲線記錄功能 | 具有事帶電池保護的PAM,可保存設備的設定值、采樣值及采樣時刻的時間;最大記錄時間為180天(當采樣周期為60S) | |
| 附屬功能 | 1.故障報警及原因、處理提示功能 2.斷電保護功能 3.上下限溫度保護功能 4.日歷定時功能(自動啟動及自動停止運行) 5.自診斷功能 | |
| 氙燈冷卻 | 1.經過制冷的純凈水流經氙燈表面,為燈管提供理想的冷卻環境,最大限度的增強氙燈使用壽命 2.氙燈冷卻水充份吸收氙燈1200nm以上的紅外波段能量,保證試驗的真實性 3. 氙燈冷卻水回路增設獨立的測溫探頭,預防氙燈冷卻不良 4. 冷卻水回路設置獨立的流量開關,防止流經氙燈的冷卻水出現異常斷流 5. 冷卻水回路配有高靈敏度的高低壓力傳感器,預防異常情況發生 6.離心式不銹鋼水泵驅動冷卻水,確保冷卻水循環回路所需動力 7.人性化的結構件設計,更換燈管簡單快捷精確,勿須專業人員即可操作 8.原裝進口法國泰康壓縮機,除了提供試驗箱內溫濕度控制所需冷量,同時保證流經氙燈后的冷卻水獲得良好出降溫 9.無須額外配備冷水機組或水塔,安裝簡單快捷,減少客戶的前期投入 | |
| 加熱器 | 1.鎳鉻合金電熱絲式加熱器 2.加熱器控制方式:無觸點等周期脈沖調寬,SSP(固態電器) 3.加熱器功率:4.5KW | |
| 運風通道 | 1.采多翼離心式循環風扇,加強軸心加耐高低溫之旋轉葉片鋁合金制成,以達強制對流 2.FLOW THROW送風方式;水平擴散垂直熱交換弧形循環 3.可調式側吹出風口及護綱回風口 4.設置有獨立溫度探頭,預防溫度失控 | |
| 加濕器 | 1.外置可拆卸鍋爐加濕方法 2.不銹鋼鎧裝加濕器 3.加濕器控制方式:無觸點等周期脈沖調寬,SSP(固態電器) 4.水位控制裝置,加濕器防干燒裝置,沉淀物收集裝置,液位觀察窗 5.加濕器功率:2.5KW | |
| 環境條件 | 1.溫度:5℃~28℃ 2.相對濕度:≤85% 3.氣壓:86kPa~106kPa | |
| 供水條件 | 1.純凈水源:用于氙燈冷卻、噴淋、加濕,流量:10L/h, 水壓: 0.15~0.30MPa 等級國家分析實驗室二級水源 2.自來水源:壓縮機為水冷型適用,水壓: 0.10~0.40KPa、 流量:15L/h | |
| 供電條件電源 | AC380V電源要求:1.三相四線+保護地線 2.電壓范圍:AC(380±10)V 3.頻率允許波動范圍:(50±0.5)Hz 4.保護地線接地電阻小于4Ω 5.要求用戶在安裝現場為設備配置相應容量的空氣或動力開關,并且此開關必須是獨立供本設備使用 | |
| 最大電流 最大功耗 | 45A 20KW (在環境溫度+25℃、無試樣、運行工況穩定一小時后測試獲得的數據) | |